Emerson 5408 Rosemount 5408 and 5408SIS Level Transmitters User Manual

5408 Rosemount. Rosemount 5408 Level Transmitter NonContacting Radar Thiết bị nhập Rosemount 5408 and 5408:SIS Level Transmitters - Emerson The Rosemount 5408 can help you withstand the rigors of blenders and mixing tanks

About Rosemount 5408 Level Transmitter Emerson US
About Rosemount 5408 Level Transmitter Emerson US from www.emerson.com

The Rosemount 5408 can help you withstand the rigors of blenders and mixing tanks The Rosemount 5408 radar level transmitter uses two-wire FMCW technology to deploy a continuous echo to maximize radar signal strength and produce a more robust and reliable measurement

About Rosemount 5408 Level Transmitter Emerson US

Powerful onboard diagnostics suite proactively monitors transmitter health and alerts if there is an issue The Rosemount 5408:SIS is the ideal choice for safety functions such as overfill prevention, level deviation monitoring or dry-run prevention Powerful onboard diagnostics suite proactively monitors transmitter health and alerts if there is an issue

Rosemount™ 5408 Level Transmitter NonContacting Radar JWII. Rosemount 5408: Product Description: Level Transmitter: Protocol: FOUNDATION Fieldbus: Category: Non-Contacting Radar, Level: Profile: FOUNDATION Field Device Date: 02/15/2024 More Information: Product Description: Rosemount™ 5408 Non-Contacting Radar Level Transmitter More Information: The Rosemount™ 5408 is a two-wire transmitter for. It may also be used in chambers, but guided wave radar is generally the best fit for these applications

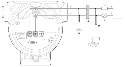
Emerson 5408 Rosemount 5408 and 5408SIS Level Transmitters User Manual. Delivering ease-of-use at every touch point, the Rosemount 5408 uses an intuitive software interface to guide the operator through installation, commissioning. The Rosemount™ 5408 Non-Contacting Radar Level Transmitter uses enhanced technology and Human Centered Design to deliver accurate, reliable measurements on both liquid and solid materials